GSV6165_HDMI2.1至TypeC/DP转换器
Gscoolink GSV6165是一款高性能、低功耗的HDMI 2.1至Type-C DisplayPort 1.4转换器。
  • 符合VESA DisplayPort 1.4a标准
  • 符合HDCP 2.2/2.3和HDCP 1.4标准
  • 可选外部MCU(通过I2C)/内部MCU模式
详细内容
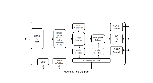
Gscoolink GSV6165是一款高性能、低功耗的HDMI 2.1至Type-C DisplayPort 1.4转换器。通过集成增强型微控制器,GSV6165打造了一种具有成本效益的解决方案,为产品上市提供了时间优势。DisplayPort发射器支持高达32.4Gbps(HBR3,4通道),HDMI接收器支持高达40Gbps(FRL,10G/4通道)。GSV6165内置通道配置(CC)、(PD)控制器和Billboard USB 2.0控制器,可支持Type-C应用的Type-C备用DisplayPort。GSV6165的卓越架构提供了经济且占用空间较小的QFN64解决方案,专为低功耗嵌入式应用而设计。

GSV6165的DisplayPort和HDMI端口支持HDCP 1.4和HDCP 2.2/2.3协议。该芯片支持色彩空间转换、420-444/422转换、去隔行和缩放功能,以实现灵活的视频处理。此外,GSV6165还支持HDMI Rx的音频提取功能,以进行音频处理。

在8kV HBM容差范围内,采用汽车级工艺,GSV6165的工作温度范围为-40ºC至85ºC。

内部视频生成器可用于生成DisplayPort HBR3带宽中定义的任何未压缩视频时序,如4K 60Hz、4K 30Hz、480i 60Hz。